Совместная работа XPS ТЕХНОНИКОЛЬ и сезоннодействующих охлаждающих устройств в конструкциях дорожных насыпей
Введение
Строительство дорог в районах распространения многолетнемёрзлых грунтов (ММГ) представляет собой сложную инженерную задачу, требующую учёта термомеханического взаимодействия сооружения с мерзлыми грунтами основания. Основная проблема заключается в необходимости обеспечить устойчивость дорожной конструкции при сохранении температурного режима ММГ.
В последние десятилетия для решения этой задачи успешно применяется комбинированный метод, сочетающий использование экструзионного пенополистирола (XPS) и сезоннодействующих охлаждающих устройств (СОУ).
1. Проблемы строительства на многолетнемёрзлых грунтах
Прокладка дорог в вечной мерзлоте вызывает существенные изменения температуры мерзлых грунтов. Это обусловлено нарушением сложившихся в природе условий теплообмена поверхности земли с атмосферой в результате:
удаления растительного покрова,
изменения способности поверхности земли отражать солнечное излучение (альбедо),
изменения ее водопроницаемости,
переформирования мощности снежных отложений,
ухудшения условий стока поверхностных вод.
После этого происходит деградация мерзлоты в основании земляного полотна, а в некоторых случаях и многолетнее промерзание талых грунтов на участках с ММГ несливающегося типа [5].
Указанные процессы вызывают деформации земляного полотна и прилегающей территории. Основными видами деформаций являются:
Осадки и расползание насыпей на оттаивающих ММГ (рисунок 1).
Термокарстовые понижения дневной поверхности на прилегающих к насыпи территориях.
Наледи на косогорах, в выемках, в руслах водотоков (рисунок 2).
Пучины в выемках и на нулевых местах (рисунок 3), в том числе наледного характера.
Просадки поверхности дороги в выемках и на нулевых местах.
Сплывы и оползание откосов насыпей и выемок (рисунок 4).
Заиливание водоотводов и нагорных канав в выемках и на косогорах.
При строительстве дорог на Севере сохранение мерзлого состояния грунтов основания чаще всего является ключевым условием долговечности дорожной конструкции. Это достигается за счёт: минимизации теплопритока от сооружения; усиления теплоотвода в холодный период; стабилизации температурного режима.

Рисунок 1. Деформации железнодорожного полотна на Байкало-Амурской магистрали

Рисунок 2. Наледь на участке федеральной автомобильной дороге А-360 «Лена»

Рисунок 3. Бугры пучения на дорогах Красноярского края

Рисунок 4. Сползание откоса после оттаивания мерзлого грунта, отсыпанного зимой
2. Способы термостабилизации
При проектировании в районах распространения вечной мерзлоты по строительным нормам принято выделять два принципа:
I принцип заключается в использовании грунтов основания в мерзлом состоянии, сохраняемом при строительстве и в течение всего периода эксплуатации сооружения.
II принцип заключается в использовании грунтов основания в оттаянном или оттаивающем состоянии. При этом должно выполняться условие ограничения осадок допустимыми пределами, устанавливаемыми нормативными документами.
Стабилизация температурного режима многолетнемерзлых грунтов предполагает инженерную защиту от воздействия негативных инженерно-геологических, гидрологических и геокриологических явлений и процессов, которые проявляются и развиваются при строительстве и эксплуатации сооружений.
Системы, обеспечивающие термическую стабилизацию грунтов основания, могут применяться как на поверхности грунта, так и в конструкции сооружений. Они направлены на сохранение и/или понижение среднегодовой температуры многолетнемерзлых грунтов основания. Без применения этих систем среднегодовая температура с течением времени повышается при каждом новом цикле замораживания-оттаивания [4].
К основным методам стабилизации температурного режима мерзлых грунтов при строительстве линейных сооружений по первому принципу относятся:
применение СОУ;
устройство теплоизоляционных слоев из пенополистирольных плит (XPS);
возведение солнцезащитных навесов;
расчистка снега в зимний период;
устройство насыпей высотой, обеспечивающей сохранение грунтов основания в мерзлом состоянии; создание вентиляционных каналов и др.
3. Устройство теплоизоляционных слоев из пенополистирольных плит
Пенополистирол обладает не только высокими теплозащитными свойствами, но и выдерживает значительную сжимающую нагрузку и не боиться влаги, что очень важно в дорожном строительстве. Применение теплоизоляционного слоя позволяет понизить рабочую высоту насыпи при сохранении грунтов основания в мерзлом состоянии.
Использование пенополистирольных плит в строительстве насыпей в районах распространения вечной мерзлоты:
позволяет уменьшить объем привозных грунтов;
дает возможность использовать грунты с любой степенью влажности;
исключает необходимость замены грунта;
повышает надежность и долговечность земляного сооружения;
сокращает затраты на уплотнение грунтов при возведении насыпей;
снижает экологический ущерб при строительстве дорог в северных районах.
Вместе с тепловой защитой дорожного полотна необходимо предусматривать грамотные дренажные решения, чтобы вода не скапливалась у подошвы насыпи и не воздействовала на мерзлые породы.
Основные свойства экструзионного пенополистирола ТЕХНОНИКОЛЬ представлены в таблице 1.
Таблица 1. Физико-механические свойства экструзионного пенополистирола (XPS)
Свойство | Величина | Единицы измерения |
Декларируемая теплопроводность | 0,032-0,036 | Вт/(м·К) |
Прочность на сжатие | 150-700 | кПа |
Водопоглощение | <0,2 | % |
Паропроницаемость | 0,004-0,007 | мг/(м·ч·Па) |
Диапазон рабочих температур | от -70 до +75 | °C |
4. Применение сезонно-действующих охлаждающих устройств (СОУ)
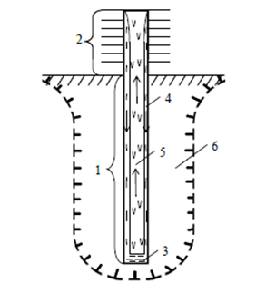
Простейшим в конструктивном отношении охлаждающим устройством является одиночный термостабилизатор (рисунок 5).

Рисунок 5. Принципиальная схема вертикального парожидкостного термостабилизатора (1 – испаритель, 2 – конденсатор, 3 – жидкий теплоноситель (хладагент), 4 – пленка конденсата, 5 – парообразный хладагент, 6 – замороженный грунт)
Основными конструктивными элементами вертикального термостабилизатора являются испаритель, транспортный участок и оребренный конденсатор.
Испаритель является грунтовым теплообменником, в котором происходит испарение жидкого хладагента. Он представляет собой трубу с заглушенным нижним торцом, погруженную в грунт на глубину, определяемую глубиной охлаждаемого массива.
Транспортный участок — это часть термостабилизатора, где реализуется транспортировка раздельных потоков жидкой и парообразной фаз хладагента. Для минимизации теплопотерь в слое сезонного промерзания-оттаивания грунта транспортный участок теплоизолируется.
Конденсатор является элементом устройства, осуществляющим теплообмен с наружным воздухом. Состоит из одной или нескольких теплообменных труб с развитой внешней поверхностью для повышения теплообмена, в котором происходит переход хладагента из парообразного в жидкое состояние [2, 3, 5].
Запуск термостабилизаторов в работу происходит при понижении температуры атмосферного воздуха относительно температуры грунта на 8-12°С. При этом возникает перепад давлений между испарителем и конденсатором, в результате чего жидкий хладагент, находящийся в испарителе, закипает.
Процесс сопровождается отбором тепловой энергии из грунта. При этом происходит фазовый переход жидкого хладагента в пар. Насыщенные пары хладагента поднимаются в воздушный конденсатор. В конденсаторе пары конденсируются на его внутренней поверхности с выделением тепловой энергии, которая отводится естественным обдувом с металлического оребрения.
Далее сконденсированный жидкий хладон принимает температуру близкую к температуре атмосферного воздуха и под действием сил гравитации опускается обратно в испаритель. Попадая в испаритель, жидкий хладон по мере своего продвижения вниз нагревается и закипает за счет разности собственной температуры и температуры стенок испарителя, переходит в парообразное состояние и снова поднимается в конденсатор.
Фазовые превращения теплоносителя и его конвекция внутри термостабилизатора происходит непрерывно. Циклический процесс повторяется, пока давление в конденсаторе не превысит давления в испарителе, что происходит в весенне-летний период, когда термостабилизатор переходит в пассивный режим [2, 3, 5].
Кроме традиционных СОУ в последние десятилетия применяются машинные методы термостабилизации грунтов оснований.
В зависимости от инженерно-геологических условий, конструкций фундаментов, особенностей работы системы «основание-сооружение» применяются различные варианты термостабилизаторов грунта [3]. Их классификация приведена ниже.
I. По принципу работы выделяются 4 основных типа:
охлаждающие устройства с принудительным тепломассопереносом (воздушные, рассольные и тому подобные – однофазные);
испарительные (двухфазные);
конвективные (с естественным конвективным тепломассопереносом – газовые, жидкостные, газожидкостные);
комбинированные с использованием вышеуказанных типов с сезонным или круглогодичным добавлением дополнительных охлаждающих (нагревающих) или терморегулирующих устройств.
II. По типу используемого теплоносителя (хладагента):
газовые (воздушные);
жидкостные;
парожидкостные (двухфазные);
газожидкостные (эффект газлифта).
III. По ориентации в пространстве бывают: вертикальные, слабонаклонные (пологонаклонные) и горизонтальные.
IV. По материалу изготовления: из углеродистой и нержавеющей стали и из алюминиевых сплавов, реже в отдельных случаях используются полиэтиленовые трубы.
5. Принципы совместного применения XPS и СОУ в конструкции насыпи
Совместное применение XPS и СОУ основано на принципе двухуровневой защиты мерзлого основания, реализующей:
амортизационную составляющую (за счет XPS), работающую в верхней части грунтового массива;
активное охлаждение (посредством СОУ), работающее в глубине толщи грунтов.
Данный подход обеспечивает систему теплового контроля, где XPS выполняет функцию теплового барьера, минимизируя поступление тепла летом от поверхности дорожного полотна внутрь насыпи, а от насыпи к ММГ. СОУ действуют как терморегуляторы, активизируя теплоотвод из насыпи и/или мерзлого основания зимой.
Эффективность совместного применения XPS и СОУ схематически приведена на рисунке 6 на примере наиболее распространенных конструкций дорожного полотна, обустроенного по I принципу проектирования на ММГ.

Рисунок 6. Принципиальные схемы, характеризующие эффективность сочетания мероприятий: а) сочетание теплоизоляции с глубинным охлаждением; б), в) – сочетание теплоизоляции с поверхностным охлаждением; (1), (2), (3) – мерзлое состояние без мероприятий, с теплоизоляцией, в сочетании; 1 – грунт основания, 2 – естественная поверхность грунта, 3 – тело насыпи, 4 – верхняя граница мерзлоты, 5 – поверхность снежных отложений, 6 – область с пониженной температурой, 7 – теплоизоляция, 8 – термостабилизаторы, 9 – направление перемещения границы мерзлоты, 10, 11 – соответственно верхняя и нижняя боковая площадка, состоящая из габионов, 12 – область новообразования мерзлоты
Разберем подробнее каждую схему.
Рисунок 6а. На первом рисунке показана насыпь, отсыпанная на мерзлоте несливающегося типа. Никаких мероприятий не применено. В результате талый слой не замерзает, а нижележащая мерзлота постепенно деградирует по направлению 9.
На втором рисунке теплоизоляция обеспечивает формирование области новообразования мерзлоты, которая в направлении 9 увеличивается постепенно до смерзания с нижележащей мерзлотой. Но процесс этот будет медленным.
На третьем рисунке применены глубинные системы — СОУ. Эффективность резко возрастает, так как в нижележащей мерзлоте формируется область 6 с пониженной температурой. При этом нижележащая мерзлота не только перестаёт деградировать, но, наоборот, начинает развиваться вверх навстречу массиву.
Рисунок 6б. На этом рисунке приведена принципиальная схема сочетания теплоизоляции 7 и верхней боковой охлаждающей площадки 10. При этом изображение 6.1 характеризует положение верхней границы мерзлоты на момент окончания тёплого периода года в установившемся режиме без применения каких-либо мероприятий. В этом случае под телом насыпи формируется талик.
На изображении 2 показано, что применение теплоизоляции 7 позволило ликвидировать талик, но температура грунта оказалось недостаточной. Применение верхней боковой охлаждающей площадки 10 позволило сформировать дополнительно мерзлую зону 6 с пониженной температурой.
Рисунок 6в. При наличии снегоотложений 5 в прилегающей к подошве откоса территории формируется талая зона не только под подошвой насыпи, но и в прилегающей. Исправить это положение может нижняя боковая охлаждающая площадка 11.
При выборе того или иного принципа совместного применения XPS и СОУ при проектировании учитываются:
теплотехнические (термическое сопротивление XPS, холодопроизводительность СОУ, теплофизические свойства грунтов),
геотехнические (несущая способность, механические свойства грунтов),
эксплуатационные факторы (доступность обслуживания, ремонтопригодность, мониторинговые возможности).
На рисунке 6 четко выражены преимущества такого решения. Эффект взаимного усиления дает существенную экономическую выгоду за счет снижения толщины XPS, оптимизации конструкции СОУ и уменьшения высоты насыпи дорожного полотна. Так же к преимуществам комбинированного применения таких систем относят повышение надежности, увеличение срока службы и снижение рисков деформаций сооружения.
6. Ошибки проектирования и негативные последствия
К типичным ошибкам при проектировании сооружений с применением XPS и СОУ можно отнести:
Неправильный подбор параметров XPS: недостаточная толщина, неверное расположение, неверный расчет теплового сопротивления, ошибки в определении нагрузок.
Ошибки в проектировании СОУ: неадекватная производительность, неправильное расположение, неучет ветрового режима.
Конструктивные недочеты: отсутствие дренажа или неправильная его конструкция, неучет бокового промерзания.
7. Рекомендации по проектированию
Основные требования и рекомендации по проектированию слоёв XPS и СОУ представлены в соответствующих нормативных документах. При разработке проектной и рабочей документации по разделам термостабилизации и геотехнического мониторинга при дорожном строительстве на ММГ рекомендуется применять следующую нормативно-технические материалы:
ГОСТ 25100-2020 «Грунты. Классификация»
ОДМ 218.2.094-2018 «Методические рекомендации по проектированию земляного полотна автомобильных дорог общего пользования из местных талых и мерзлых переувлажненных глинистых и торфяных грунтов в зонах распространения многолетнемерзлых грунтов»
СП 25.13330.2020 «СНиП 2.02.04-88. Основания и фундаменты на вечномерзлых грунтах»
СП 34.13330.2021 «Автомобильные дороги»
СП 119.13330.2024 «СНиП 32-01-95. Железные дороги колеи 1520 мм»
СП 131.13330.2025 «Строительная климатология»
СП 313.1325800.2017 «Дороги автомобильные в районах вечной мерзлоты. Правила проектирования и строительства»
СП 447.1325800.2024 «Железные дороги в районах вечной мерзлоты. Основные положения проектирования»
Рекомендации по применению теплоизоляции для стабилизации температурного режима грунтов основания и тела дорожных насыпей в зоне вечной мерзлоты, ООО «Лаборатория инженерной теплофизики» (ООО «ЦЛИТ»), 2024
Заключение
Комбинированное применение экструзионного пенополистирола и сезонно-действующих охлаждающих устройств представляет собой эффективное техническое решение для строительства дорожных насыпей на многолетнемерзлых грунтах.Такая система позволяет обеспечить стабильность температурного режима основания, предотвратить развитие опасных деформаций, а также значительно увеличить срок службы сооружения. При этом, ключевыми факторами успешной реализации проекта являются грамотный теплотехнический расчёт, оптимальный выбор параметров XPS и СОУ, качественное исполнение строительных работ и регулярный мониторинг и обслуживание.
Представленные в статье решения уже успешно применяются на крупных инфраструктурных проектах в Арктической зоне РФ, демонстрируя высокую эффективность и надежность.
Список литературы
Баишев Н. Е., Гагарин Л. А., Шепелев В. В. Применение индекса NDWI в исследовании природно-техногенных наледей на автодороге «Лена»(Южная Якутия) // Природные ресурсы Арктики и Субарктики. – 2024. – Т. 29. – №. 3. – С. 408-419.
Ибрагимов, Э.В. Экспериментальные исследования инновационных конструкций пологонаклонных конструкций термостабилизаторов грунта / Э.В. Ибрагимов, Я.А. Кроник, Е.В. Куплинова // Вестник Томского государственного архитектурно-строительного университета. - 2014г. - № 4. - С. 208-220.
Комаров, И.А., Ананьев В.В., Бек Д.Д., Исаев В.С. Проблемы термостабилизации грунтовых оснований инженерных сооружений. / Материалы V конференции геокриологов России, Москва. 2016. - С. 266–278.
Олейник Д.Н. Расчетное обоснование применения теплоизоляционных плит для стабилизации многолетнемерзлых грунтов в основании насыпи автодороги // Известия ВНИИГ им. Б.Е. Веденеева. 2022. Т. 304. С. 86−99
Хрусталев Л.Н. Основы геотехники в криолитозоне: Учебник. – М.: Изд-во МГУ, 2005.
Landers K., Streletskiy D. (Un) frozen foundations: A study of permafrost construction practices in Russia, Alaska, and Canada //Ambio. – 2023. – Т. 52. – №. 7. – С. 1170-1183.
Не нашли ответ на свой вопрос? Напишите нам