Насыпи автомобильных дорог на многолетнемерзлых грунтах: ключевая роль проведения расчетов при проектировании
Строительство автомобильных дорог играет ключевую роль в развитии северных регионов России, обеспечивая транспортную доступность, экономический рост и социальное благополучие. Однако возведение дорожной инфраструктуры в условиях распространения многолетнемерзлых грунтов (ММГ) представляет собой сложную инженерную задачу. Эти грунты находятся в мерзлом состоянии на протяжении сотен, а порой и тысяч лет, пребывая в устойчивом тепловом балансе. Любое внешнее воздействие может нарушить этот баланс, спровоцировав их оттаивание, потерю прочности и деформации основания.
В статье рассмотрим, какие инженерные решения позволяют преодолеть эти сложности и обеспечить надежную эксплуатацию дорог в суровых условиях Севера.
Основные сложности строительства на ММГ
Скрытые деформации. Проектирование и строительство в условиях многолетнемерзлых грунтов требует применения специфических решений, основанных на геокриологических закономерностях. Вне криолитозоны достаточно общепринятых подходов.
Основная сложность заключается в нарушении естественного теплового баланса грунта при возведении насыпи. Это неизбежно приводит к увеличению сезонного и, возможно, развитию многолетнего оттаивания мерзлоты, что вызывает осадку грунтов, потерю устойчивости и разрушение дорожной конструкции. Особую опасность представляют скрытые деформации, развивающиеся в толще грунта и проявляющиеся на поверхности в виде просадок и трещин.
Морозное пучение также вносит существенные сложности. Поровая влага, содержащаяся в грунте, при замерзании увеличивается в объеме, вызывая подъем слоев насыпи и деформации дорожной одежды. Силы морозного пучения настолько велики, что превышают прочность даже жестких конструкций. Особенно подвержены морозному пучению пылеватые и глинистые грунты, широко представленные в области распространения многолетнемерзлых пород.
Грунты в теле насыпи и в её основании реагируют по-разному на нагрузки и воздействия. Поэтому необходимо учитывать свойства ММГ, грамотно подбирать состав и технологию укладки насыпного материала.
Доступ к качественным материалам в северных регионах затруднён: сложная логистика и высокие затраты на подвоз материалов, преобладание в верхней части геологического разреза глин, супесей и торфов в составе местных грунтов требуют точного расчёта взаимодействия насыпи с мерзлой толщей. Необходим грамотный подход к выбору проектных решений, в том числе за счет использования комплексных подходов.
Системное решение от ТЕХНОНИКОЛЬ ТН-ДОРОГА Термо эффективно защищает конструкцию автодороги от морозного пучения грунта при промерзании. Состав системы:

Рисунок 1. Система ТН-ДОРОГА Термо, которую рекомендуется применять при проектировании и строительстве автомобильных дорог в условиях ММГ
Чтобы предотвратить деформации морозного пучения, устраивают дополнительный морозозащитный слой из плит XPS ТЕХНОНИКОЛЬ CARBON SOLID 500 ТИП А. У плит высокие теплотехнические и прочностные показатели, которые позволяют выдерживать длительные нагрузки.
Современные способы термостабилизации дорог в условиях ММГ описывали в статье про возведение дорог на многолетнемерзлых основаниях.
Климатический фактор. В условиях потепления климата и увеличения количества осадков, согласно прогнозам Оценочных докладов Росгидромета (2024, 2025), необходимо учитывать не только текущие климатические параметры, но и их изменения на протяжении всего периода эксплуатации сооружения. Подобные требования широко используются в инженерной практике, однако их еще не успели зафиксировать в нормативной документации.
Снежный покров. Важную роль играет контроль за снежным покровом. Снег — мощный теплоизолятор, который может значительно изменять тепловой режим насыпи. Поэтому необходимо моделировать процессы с учетом изменений в снегонакоплении, проводить регулярную и эффективную расчистку трассы от снега. Если эти меры не соблюдать, могут нарушиться температурный режим в основании насыпи и усилиться оттаивание, разовьются деформации.
Важность специальных расчетов и прогнозирования
Проектирование дорожных насыпей в северных регионах без выполнения специализированных теплотехнических расчетов недопустимо. Главной задачей этих расчетов является прогноз изменения температурного режима в теле насыпи и в её основании после ввода линейного сооружения в эксплуатацию и на всем сроке эксплуатации.
В расчетах учитываются характеристики мерзлого основания (литологический состав, влажность, льдистость, глубина сезонного промерзания и оттаивания), а также физико-механические и теплофизические свойства используемых грунтов и материалов.
Особое внимание уделяется прогнозу теплового взаимодействия насыпи с приземным слоем атмосферы и окружающей средой. Многолетнемерзлые толщи, особенно в северной геокриологической зоне, обладают высокой тепловой инерцией, что делает их крайне чувствительными к тепловому воздействию.
В теплотехнических расчетах учитываются климатические тренды, включая повышение годовых и сезонных температур, изменение количества и характера осадков. Все это оказывает влияние на глубину сезонного оттаивания, возможность формирования сквозных и несквозных таликов, изменение морфологии мерзлой толщи и, как следствие, – на устойчивость всей конструкции.
Важно учитывать не только средние значения климатических параметров, но и их экстремальные отклонения, которые могут оказывать существенное влияние на тепловой режим основания.
В этом контексте особую актуальность приобретают численные модели, позволяющие оценивать тепловой баланс в долгосрочной перспективе. Программы для численного моделирования динамики изменений температурного поля многолетнемерзлых грунтов учитывают широкий спектр параметров:
теплофизические свойства грунтов (теплопроводность, теплоемкость, фазовые переходы влаги);
климатические данные (температура воздуха, осадки, солнечная радиация, ветровой режим);
геометрические характеристики насыпи (высота, углы откосов, ширина, экспозиция склонов);
свойства используемых материалов (теплопроводность, прочность, деформационные характеристики);
другие факторы, которые позволяют прогнозировать температурный режим основания на весь срок эксплуатации линейного объекта.
Для проведения расчетов могут использоваться программные комплексы, такие как Борей 3D, Frost 3D, QFrost, Midas и др.
Последствия инженерных просчетов
Отказ от проведения расчетов или их недостаточная глубина неизбежно приводят к проблемам в процессе эксплуатации дорог. История строительства в северных регионах содержит многочисленные примеры разрушения земляных сооружений в результате деградации вечной мерзлоты.
В настоящее время, несмотря на богатый опыт возведения линейных объектов на территории криолитозоны, в том числе зоны БАМ (Байкало-Амурской магистрали), наблюдаются:
провалы и трещины в проезжей части,
развитие масштабных экзогенных геокриологических процессов и явлений — термокарста, наледеобразования и солифлюкции.
В некоторых случаях дорога становилась непригодной для эксплуатации уже через несколько лет после строительства. Разрушения дороги влекли за собой не только финансовые потери, но и риски для жизни и здоровья пользователей.
Развитие таких опасных явлений, как бугры пучения и термоэрозия, может разрушить даже хорошо армированные конструкции. Часто наблюдаются случаи образования несквозных таликов — локальных участков глубокого многолетнего оттаивания внутри мерзлой толщи, либо, наоборот, новообразование мерзлой толщи. В любом из этих случаев изменяется структура грунтового основания и появляются не всегда предсказуемые и контролируемые деформации. Наглядное представление о масштабе этих проблем дают видимые деформации дорожного полотна, регулярно возникающие в северных регионах (рис. 2).

Рисунок 2. Проявления деформаций дорог на ММГ из-за неверного проектирования и эксплуатации
Подобные ошибки приводят к значительным экономическим потерям, потому что приходится проводить дорогостоящие ремонты, реконструкцию дорог, увеличивать эксплуатационные затраты.
Принципы повышения устойчивости земляных сооружений
Подбор оптимальной высоты и геометрии насыпи. Надежность и устойчивость насыпи достигается комплексом инженерных и конструктивных решений. Проектирование насыпи начинается с подбора оптимальной высоты и геометрии.
Правильно рассчитанная высота насыпи позволит:
контролировать глубину проникновения тепловой волны;
увязать годовой теплообмен в теле насыпи таким образом, чтобы исключить оттаивание мерзлого основания.
При необходимости конструкция насыпи модифицируется: включаются бермы, валики, компенсирующие слои, позволяющие перераспределить нагрузки и минимизировать напряжения.
Применение теплоизоляционных экранов. При проектировании и строительстве дорог в зоне ММГ широко применяются теплоизоляционные экраны. Они служат барьером для тепловых потоков, направленных в мерзлую толщу и из неё, позволяют стабилизировать температуру в основании.
В качестве теплоизоляционных материалов используется экструзионный пенополистирол XPS ТЕХНОНИКОЛЬ, отвечающий требованиям нормативных документов в части дорожного строительства на многолетнемерзлых грунтах.

Рисунок 3. Экструзионный пенополистирол ТЕХНОНИКОЛЬ CARBON SOLID тип А
При выборе теплоизоляционного материала необходимо учитывать требования к прочности, водопоглощению и долговечности. Монтаж теплоизоляционных экранов может осуществляться различными способами, в зависимости от типа материала и конструкции насыпи.
Эффективным дополнением решения является также применение сезонно-действующих охлаждающих устройств (СОУ), позволяющих дополнительно отводить тепло из-под основания насыпи и поддерживать устойчивое мерзлое состояние грунтов.

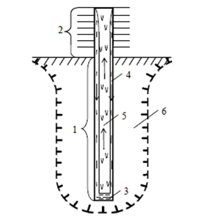
Рисунок 4. Принципиальная схема вертикального парожидкостного термостабилизатора (1 – испаритель, 2 – конденсатор, 3 – жидкий теплоноситель (хладагент), 4 – пленка конденсата, 5 – парообразный хладагент, 6 – замороженный грунт)
Детальный анализ принципов и преимуществ совместной работы XPS ТЕХНОНИКОЛЬ и сезонно-действующих охлаждающих устройств в конструкциях дорожных насыпей приводили в статье «Совместная работа XPS ТЕХНОНИКОЛЬ и сезонно-действующих охлаждающих устройств в конструкциях дорожных насыпей».
Организация дренажа. Существенную роль играет организация дренажа, так как исключение избыточного увлажнения позволяет снизить вероятность оттаивания льдосодержащих грунтов. Для этого устраиваются дренажные канавы, водоотводные лотки и другие сооружения, обеспечивающие отвод поверхностных и подземных вод от основания насыпи.
Грамотное проектирование дорожной одежды. Особое внимание следует уделить грамотному проектированию дорожной одежды с тщательным подбором материалов, обеспечивающих необходимые теплофизические и деформационные характеристики. Для детального изучения вопросов проектирования и устройства теплоизолирующих слоев из пенополистирольных экструзионных плит ТЕХНОНИКОЛЬ XPS в дорожных конструкциях рекомендуем ознакомиться с СТО 72746455-4.6.6-2025 «Насыпи дорожные в зоне распространения многолетнемерзлых грунтов. Применение теплоизоляции XPS ТЕХНОНИКОЛЬ для стабилизации температурного режима грунтов основания и тела насыпей».
В условиях Севера нередко применяется принцип послойного армирования геосинтетическими материалами (геотекстиль, георешетки), а также конструктивные элементы, направленные на ограничение движения тепла и влаги (гидроизоляционные мембраны, пароизоляционные слои).
Важную роль играют организационные мероприятия — сезонные ограничения движения транспорта и регулярная расчистка трассы от снега для предотвращения его высокого отепляющего влияния.
Мониторинг температурного режима основания насыпи. Необходимо проводить мониторинг температурного режима основания насыпи в процессе эксплуатации дороги, чтобы своевременно выявить и устранить возникающие проблемы. Данные мониторинга позволят оценить эффективность принятых инженерных решений и, при необходимости, внести корректировки в конструкцию или режим эксплуатации дороги.
Заключение
Проектирование и строительство автомобильных дорог в зоне распространения многолетнемерзлых грунтов требует:
высокого уровня инженерной подготовки,
комплексного подхода,
глубокого понимания геокриологических процессов.
Применение типовых решений, эффективных в других регионах, здесь недопустимо. Специализированные расчеты, учет климатических и геологических особенностей, применение современных материалов и технологий обеспечат устойчивость, безопасность и долговечность дорог в северных широтах. Успешное решение этих задач требует высокой квалификации инженеров и применения современных технологий.
Не нашли ответ на свой вопрос? Напишите нам